福特申请大灯自动校准专利
发布时间:2025-11-06 13:47:03 | 来源:雀牛网

盖世汽车讯 据外媒报道,福特汽车公司(Ford Motor Company)已向美国专利社保局(USPTO)申请一项前大灯校准系统专利,该系统或将应用于未来的福特车型。该专利申请于2024年4月25日提交,2025年10月30日公布,专利号为0336071。

图片

图片来源:福特

近几个月来,福特公司公布了多项专利,其中包括基于后排乘客人数的自动调节座椅以及乘客舱座椅调节系统。这两项专利都旨在根据多种因素自动调节座椅,从而提升驾乘便利性,甚至优化乘客的坐姿。而这项新公布的专利则旨在实现同样的功能,但这次是通过车辆的前大灯来实现.

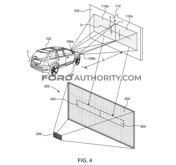
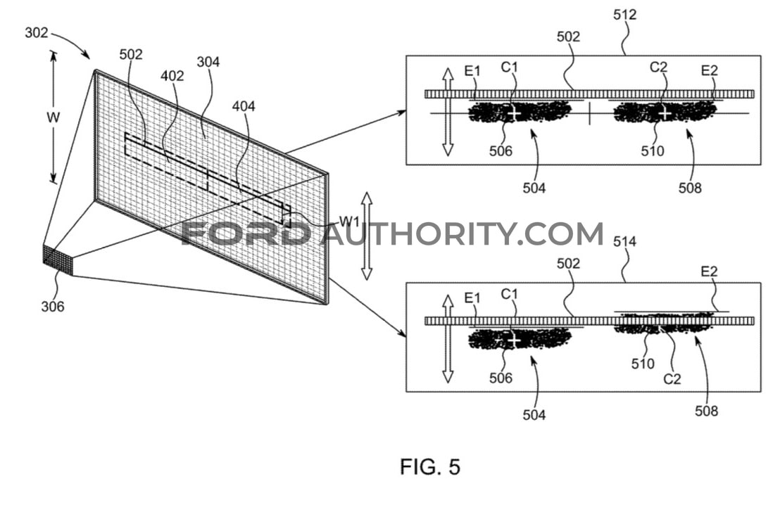
如果这项技术得以实现,它将利用多种摄像头和一套处理方法来确定车辆的最佳前大灯照射角度,并据此进行调整。具体来说,它首先会从车辆的前置摄像头获取图像,然后提取两组图像像素——一组来自左侧区域,另一组来自右侧区域。之后,系统将根据这两组像素确定正确的照明强度。

图片

公开专利图中展示了一种车辆,该车辆包括前置摄像头、左右前大灯和处理器。前置摄像头可配置为捕获车辆前方外部表面的图像。左侧前大灯可配置为照亮该外部表面的左侧区域,右侧前大灯可配置为照亮该外部表面的右侧区域。处理器可将第一组图像像素映射到左侧区域,并将第二组图像像素映射到右侧区域。处理器还可确定与左侧区域相关的第一照明强度和与右侧区域相关的第二照明强度。当第一照明强度和第二照明强度之差大于阈值时,处理器可执行预定义的操作。

图片

考虑到正确的车灯调整对于夜间行车时的视野至关重要,这种系统无疑会非常实用。一些车辆已经配备了矩阵式LED大灯,可以实时调节特定区域的亮度,而不久之后,这套系统或许还能实现其他类型的调节。

福特在一份声明中表示:“提交专利申请是企业正常运营的一部分,因为这一过程可以保护新创意,并帮助我们构建强大的知识产权组合。专利申请中描述的想法不应被视为我们业务或产品计划的指示。无论专利申请中概述的内容如何,在开发和推广新产品和服务时,我们始终会将客户放在首位。”

提示:您可以通过浏览器菜单选择“文件 → 打印 → 另存为 PDF”来保存本页面。